| 發布日期:2019-04-16 |
引言
隨著科學技術的發展,人們對材料的要求也越來越高,改進現有材料與製備新型高性能材料也成了科學家們的主要任務,因此需要將先進的測試方法不斷地應用到各種材料深層次的研究上,以便對材料的微觀結構進行檢測分析,進而對材料的性能進行提升。先進的測試方法對材料科學的研究至關重要,而激光拉曼光譜技術作為一種新興的檢測方法,在推動材料科學的進步也將發揮著重要作用。
應用
拉曼光譜在石墨烯結構表征中的應用
石墨烯是sp2碳原子緊密堆積形成的六邊形蜂窩狀結構的二維原子晶體,具有超高的電導率與熱導率、巨大的理論比表麵積、極高的楊氏模量與抗拉強度,是碳材料家族的一顆新星,可望在微納電子器件、光電檢測、轉換材料,複合材料等諸多領域等到廣泛應用。自石墨烯被發現以來,拉曼光譜技術由於其快速無損、分辨率較高成為石墨烯研究領域的重中之重的研究方法。
對不同層數的石墨烯用拉曼光譜檢測,如圖1

圖1 不同層數石墨烯的拉曼譜圖
在石墨烯中,如果存在缺陷就會在拉曼譜圖上出現D峰,使用G峰與D峰的強度比來定義缺陷程度。如圖2

圖2 D峰與G峰的強度比ID/IG
從拉曼光譜可知,不同層數的G峰強度存在線性相關,D峰與G峰的強度比也存在一定的相關性,拉曼光譜技術可用來表征石墨烯的層數和缺陷。
對兩種不同堆垛方式的石墨烯進行拉曼光譜檢測,如圖3

(a)G峰對比 (b)G'峰對比
圖3 對ABC,ABA兩種不同堆垛方式的G峰與G'峰的拉曼光譜
由圖可知,不同堆垛方式的石墨烯在G峰和G'峰存在差異,拉曼光譜可對石墨烯不同堆垛方式進行鑒別。
在石墨烯表征中,拉曼光譜發揮的作用遠不止這些,還可對其邊緣手性、摻雜、溫度與壓力的影響等進行檢測,在石墨烯研究中扮演著重要作用。
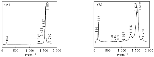
在不同激發波長下的單壁碳納米管的拉曼光譜研究
自單壁碳納米管被合成出來以後,由於其具有奇特的物理性質和廣闊的應用前景,得到了人們的廣泛關注。而拉曼光譜是研究單壁碳納米管的有力手段之一,對於了解碳納米管的結構與物理性質具有重要的意義。
分別使用457.5nm,632.8nm的激發波長對其進行檢測,457.5nm,632.8nm分別對應正常拉曼光譜和共振拉曼光譜。徑向呼吸模位於低頻區160cm-1附近,是單壁碳納米管的振動模,可用來判斷是否有單壁碳納米管及其直徑。此實驗根據不同波長下的徑向呼吸模頻移來獲得直徑分布範圍。如圖4

圖4 不同波長下的拉曼譜圖(A為457.5nm,B為632.8nm)
可知457.5nm波長下的164cm-1為徑向呼吸模,由徑向呼吸模的頻移與直徑的關係1532584905695235.png可推測出直徑範圍。
目前拉曼光譜已應用於材料科學的研究,已有大量科研人員使用拉曼光譜來對材料的微納結構進行研究,由於快速,無損,靈敏度高等特點,拉曼光譜在材料科學領域的應用將會隨著技術和設備越來越廣泛,並將會對新型材料的研究起著重大作用。
參考文獻:
拉曼光譜在石墨烯結構表征中的應用, 吳娟霞等
在不同激發波長下的單壁碳納米管的拉曼光譜研究,陳林濤等

